Монтажные работы
Фаркоп заводской сборки устанавливают с помощью 6 болтов. Приобретенная конструкция должна быть качественной, из прочного, толстого металла. Слой краски должен быть достаточно толстым, чтобы не сдирался после начала эксплуатации.Эксперты советуют подсоединять фаркоп на Гранту и проводить к нему электричество после снятия заднего бампера. Проводку необходимо тщательно изолировать, чтобы избежать попадания влаги и замыкания.
Трудности в работе возникают на этапе подсоединения электрической розетки, которая необходима для функционирования фар на прицепе. На подобный тюнинг потребуется 5 часов, если схема окажется неправильной. Поэтому специалисты рекомендуют перед подключением проводов проверить работу схемы на тестере. Установить фаркоп на Ладу при наличии необходимых инструментов и правильной схемы можно довольно быстро.
Необходимо зачистить оплетку, оставив кабель целым, не разрезая его. Подсоединяемый провод желательно намотать и пропаять. Для этого используют обычный паяльник. Такой метод считается старым, но надежным. Проводку заизолировать помогает изолента, потому что термоусадка не надевается на неразрезанные кабели. Пайка осуществляется к проводу синего цвета задней правой фары. Этот провод отвечает за правый поворотник, а коричневый — за габаритные огни.
Как сделать проводку и подключить фару
Для подключения ПТФ понадобятся различные инструменты:
- монтажный набор для подключения противотуманных огней на «Гранте». Он включает в себя кнопку, реле, проводку в салоне, проводку под капотом;
- гофра (например, 9 мм для салона и 16 мм для капота);
- изолента;
- дрель;
- набор свёрл;
- головка на 10 мм;
- ключ на 13 мм.
Монтажный набор для подключения противотуманных фар на Гранте заметно облегчит работу автовладельца
План подключения «противотуманок» выглядит так:
- Вынимают АКБ.
- Отвинчивают шурупы, крепящие площадку под ним.
Для проводки под капотом снимите площадку под АКБ - Сместив панель вбок, ослабляют гайку кронштейна, извлекая топливные трубки.
- Провод начинают прокладывать от правой фары через брызговик, далее под компрессором, генератором и вентилятором системы охлаждения.
Начните прокладку провода от правого брызговика вдоль передней части капота - Провод от второй фары проводят через левый брызговик.
- В подкапотном пространстве соединяют оба провода. Затем укладывают их в гофру.
Разъём для второй фары (чёрный провод в правой части картинки) - Пропускают гофру под блоком ABS рядом с трубками гидрокорректоров фар, введя в салон через резинки этих трубок.
Можно провести в салон через отдельное отверстие (для этого нужно вырезать отверстие) или через резинку возле трубок гидрокорректора
С прокладкой проводов под капотом закончено.
Теперь можно установить АКБ на прежнее место и прикрепить бампер. На схемах ниже указано, где можно закрепить массовые клеммы с правой стороны.
- Правая фара: один из концов, как принято в электрике, крепится «на массу»
- Аналогично крепят клеммы и с левой стороны.
- Левая фара крепиться «на массу» аналогичным способом
Подключение проводов
На рынке представлены розетки из пластика и дюралюминия. Эксперты считают 2-й вариант более надежным, чем 1-й. Резиновый колпак для розетки может не соответствовать размерам отверстий кронштейна. В этом случае могут потребоваться дополнительные работы по подрезанию.
На первом этапе подключения проводки при установке фаркопа на Ладу Гранта необходимо повернуть колодку на 10-15 град. против часовой стрелки и вытащить ее, приподняв усик, фиксирующий колодку. Кончики кабелей, которые вставляются в зажимы, пропаивают. Полученная схема проверяется тестером. Следующий этап предусматривает подключение розетки к кронштейну фаркопа.
На втором этапе провода требуется прочно закрепить, уложив их на дне багажника. На 3-м этапе рекомендуется проверить тестером колодку розетки со всеми световыми сигналами. Затем штекер прицепа подключается. Конструкция готова к эксплуатации.
Чтобы произвести подобный тюнинг своими руками, потребуется купить книгу по эксплуатации и ремонту Лада Гранта.
В противном случае установка фаркопа и подключение его розетки производится с помощью профессионалов в автосервисе.
Перевозка тяжёлых или крупногабаритных грузов на автомобиле невозможна – его багажник ограничен в объёме. Для этого используются прицепы, цепляемые за фаркопы. В этом обзоре мы рассмотрим, как установить фаркоп на Гранту. В этом нет ничего сложного – грубо говоря, для этого нужно вкрутить лишь несколько болтов и выполнить электрические подключения.
Особенности соединения розетки
Для подключения фаркопа к электрической проводке автомобиля советуем применять многожильный провод из меди. Идеальный вариант – провод, в котором каждая жила имеет сечение минимум 1,5 кв. мм. Провод должен иметь двойной слой изоляции.
Особенности подключения ТСУ, схемы подключения устройства на 7 пин, обозначения по цветам, схема подключения вилки, схема подключения розетка фаркопа.
Чтобы понять, обладаете ли вы достаточной информацией о ТСУ.
- Сколько есть разновидностей розеток?
а) Для легковых автомобилей выпускается три вида розетки. Тринадцатиконтактная, применяемая в России. Американская или Европейская на 7 пин. И имеется специальный разъем.
б) В продаже имеется два вида розеток. Русская на 13 пин и Американская на 7 контактов.
- Что обозначает контакт, о?
а) провод, направляющийся к левому поворотнику.
б) Провод правого поворотника.
в) Провод, включающий правый и левый поворотники.
- Зачем на розетки ставят крышечки?
а) Крышка нужна, чтобы лишние провода не были подключены к устройству.
б) Она служит защитой, предохраняющей розетку от внешних воздействий. Крышка нужна в тот момент, когда авто фаркоп не соединён с прицепом.
- Какие контакты можно срастить, чтобы упростить процесс сборки?
а) Сращивать можно контакты двух фар, заднего хода, стоп-сигналы, противотуманку и габаритные огни. Все они включаются синхронно.
б) Соединять разрешено любые контакты. Так работа пойдёт проще.
- Что обозначает контакт, о?
а) Подключение к задней противотуманке.
б) Подсоединение к стоп-сигналам автомобиля.
Ответы:
- а) Есть три вида розеток – русская на 13 контактов, американская или европейская на 7 пин, а также специальный разъем.
- А) Буквой «L» обозначается ровод, подсоединяющийся к левому поворотнику.
- Б) Крышка на розетке служит в качестве защиты от различных воздействий. Ее закрывают, когда фаркоп не подключен к прицепу.
- А) Для упрощения работы, сращивают следующие контакты: двух фар, заднего хода, стоп-сигналы, противотуманку и габаритные огни. Возможность соединения объясняется тем, что все они включаются синхронно.
- А) Обозначение «54G» — это подключение к противотуманным фарам автомобиля.
Чтобы перевезти объемный груз, на автомобиль крепится надежный прицеп. Подсоединение происходит посредством ТСУ и плотного контакта с его розеткой. Необходимо правильно подключить контакты, чтобы на прицепе при езде срабатывали задние фары, сигнализирующие участникам дорожного движения, что водитель совершает разнообразные действия, к примеру, поворот. Чтобы правильно подсоединить сигналы, потребуется изучить схему подключения прицепа, а также распиновки розетки фаркопа.
Определение: Распиновка розетки прицепа – это схема разъемов, необходимая для соединения автомобиля с прицепом своими руками. Подключение электрики требуется, чтобы на прицепе работала вся осветительная техника, согласно правил дорожного движения.
Особенности автомобиля Лада Гранта
В традиционной комплектации Лада Гранта фаркопа лишена. Приобретая прицеп, автовладельцы связываются с необходимостью его установки. В отдельных машинах для этого нужно просверлить крепёжные отверстия или внести другие доработки. При отсутствии опыта процедуру следует доверить сотрудникам ближайшего автосервиса. Владельцам автомобиля Лада Гранта лифтбек повезло больше – специально для их авто разработаны тягово-сцепные устройства, крепящиеся всего на несколько болтов. Правда, придётся немного повозиться с электрикой.
Виды схем подключения
Сложностей в соединении курганского прицепа или того же МЗСА с ВАЗ 2110 возникать не должно. Все свое, родное, а потому простое предусмотрено еще производителем.
Но ситуации бывают разные. Некоторым требуется специальный адаптер-переходник, другим нужно корректировать саму проводку и определять, куда какой проводок идет. Якобы несовместимые ТСУ и машины соединить на деле можно. Но сделать это довольно сложно.
Следует учесть несколько важных моментов:
- Если машина используется для соединения с разными автоприцепами от различных производителей, будет логично поставить пару розеток на 7 контактов;
- Для России не очень удобно и легко подбирать «компанию» для 13-контактных розеток;
- В зависимости от модели, серии и года выпуска автомобиля, у них могут существовать отличия в плане распиновки. Бывает так, что габаритные фонари выводятся на 5 контакт, хотя на другой версии они идут на 7 контакт;
- Предыдущие владельцы подержанных авто вполне могли что-то начудить и использовать свою особую схему для подключения прицепа;
- Всегда нужно проверять электросхему авто и сверяться с официальными документами.
Не у всех сохранились родные документы. И тут люди обращаются за помощью на разные форумы, ищут ответы на просторах всемирной паутины.
Я совсем не против того, чтобы вы читали мои материалы. Но некоторые вопросы требуют индивидуального рассмотрения. Потому я предлагаю вам их задавать в комментариях, и стараюсь всем отвечать.






Очень сильно сомневаюсь, что кто-то желает с таким столкнуться. Следуйте этому простому совету.
Варианты распиновки
Сначала думал, что буду подробно вам расписывать, где какой контакт на розетке, куда он идет и для чего предназначен.
Но теперь понимают, задумка бессмысленная. Она лишь еще больше вас запутает и загонит в тупик. Нужно поступить куда проще. Наглядные примеры самый лучший вариант. Подготовлю для вас несколько изображений, отображающих суть типовых распиновок на розетках тягово-сцепных автомобильных устройств. Они не должны выступать как основа для вашего собственного подключения. Помните, только официальные документы и инструкции производителя. Каждая машина может иметь свои особенности.
Что же, начнем со старых добрых отечественных автомобилей. Именно на них мы чаще всего видим прицепы.
В случае с машинами отечественного производства стандартная распиновка выглядит примерно следующим образом.









Покупка и установка тягово-сцепного устройства (фаркопа)



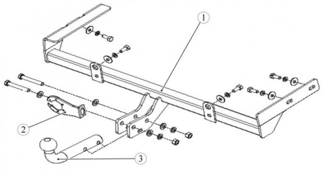
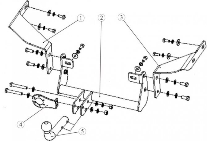
Подробности о том, как установить фаркоп на Лада Гранта, можно уточнить у специалистов. Но справиться с этим сможет даже начинающий автолюбитель. Готовое тягово-сцепное устройство для данного автомобиля представляет собой П-образную металлическую раму, с закреплённым на ней фаркопом. Конструкция полностью готова к установке, а на лонжеронах автомобиля и за его бампером уже предусмотрены отверстия для болтов.
Процесс установки фаркопа состоит из нескольких шагов:
- Фиксация автомобиля над ямой стояночным тормозом;
- Полное отключение всей электрики – необходимо скинуть с аккумулятора минусовую клемму;
- Установка тягово-сцепного устройства с закреплением его на штатных местах;
- Подключение розетки фаркопа к бортовой электросети.
- Пройдём по этим шагам более подробно.



Как установить фаркоп на Гранту седан и что для этого нужно? Для этого автолюбителю понадобится гаечный ключ с трещоткой. В большинстве случаев какие-либо другие инструменты не нужны (во всяком случае, на данном этапе). Процесс установки прост – берём каркас ТСУ и совмещаем его со штатными отверстиями.
Далее берём идущие в комплекте болты и вкручиваем их в штатные отверстия, с которых предварительно убирается защитная плёнка. Всего болтов шесть – четыре из них вкручиваются в лонжероны, ещё два вкручиваются за задним бампером. Место здесь не самое удобное, есть вероятность, что придётся помучиться с выбором ключа.
Фаркоп для универсалов и его установка
Рассмотрим порядок монтажа, руководствуясь штатной инструкцией. Отметим, что все крепёжные винты фаркопа являются метрическими и имеют типоразмер М10. Вам понадобится накидной ключ, но не только он. Учитывая массу изделия, монтаж лучше проводить вдвоём: один механик держит фаркоп, второй – закручивает винты.



Освобождаем от мастики отверстия в лонжеронах
Прежде всего, перед установкой нужно найти штатные резьбовые отверстия. Используя крестовую отвёртку, их очищают от антикора.
Сам узел фаркопа подводят под кузов так, чтобы не повредить крепление глушителя. Затем, рукой вкручивают шесть болтиков, которые должны быть в комплекте. Не забывайте устанавливать и шайбы, прилагаемые изготовителем.
Подключение электрической части
Механическая часть готова – можно смело цеплять прицеп и проверять надёжность крепежа. Осталось поработать над электрическими цепями, что заставит работать задние огни. Для этого необходимо подключить провода от розетки к бортовой сети автомобиля. Последовательность шагов тут следующая:
- Монтаж розетки – она закрепляется на подрозетнике, рядом с шаром ТСУ;
- Вывод провода розетки через резиновый уплотнитель, располагающийся рядом с бампером, в левой части – отсюда провода выводятся в багажник Лады Гранта;
- Подключение проводов к бортовым огням – здесь главное не запутаться.



Схема подключения проста. Через первый контакт подключается левый поворотник, через четвёртый – правый поворотник. Через третий контакт подключается масса, через шестой – стоп-сигнал. Габаритные они подключается через седьмой контакт, противотуманная фара – через второй контакт (может оставаться свободным). Пятый остаётся резервом – через него может питаться дополнительное оборудование (например, установленная в прицепе перевозная автомобильная камера).
Теперь вы знаете, как установить фаркоп на Ладу Гранту лифтбек. Ничего сложного здесь нет – нужно закрутить шесть основных болтов, закрепить на штатном месте розетку, подключить фаркоп к бортовой электросети автомобиля. Последний этап проверочный – на нём проверяется надёжность установки ТСУ, производится зацепка прицепа, контролируется работоспособность огней. После этого можно отправляться в путь.
А если вы еще не приобрели прицеп для своего автомобиля, рекомендуем Вам обратить внимания на следующие модели, отлично подходящие для Ларгуса:
Тягово – сцепное устройство или фаркоп для Лады Гранты лифтбек устанавливается с целью дальнейшего использования прицепа для увеличения грузовой возможности машины.
Штатное место установки ТСУ — под задним бампером. При использовании стокового бампера ТСУ устанавливается без проведения дополнительных монтажных работ. В случае наличия предустановленного кастомного варианта — потребуется ряд слесарным работ по вырезке проема для вывода съемного шара.














